製品情報
PRODUCTS
産業機械器具設計・製造・販売
株式会社ハタリー
製品情報
PRODUCTS
コラム開先加工機
KPシリーズ
製品に関するお問い合わせ
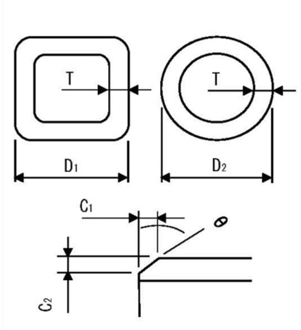
| 型式 | KP-1000ZⅡNW【貫通型ダブル】 | |
|---|---|---|
| 適用寸法(mm) | D1 | 250~1000 |
| D2 | φ250~φ1000 | |
| T | 9~50 | |
| θ | 35 | |
| C1 | 40 | |
| C2 | 50 | |
| L | Min長さは断面形状以上を目安とします。 | |
| カッター軸数(軸) | 2軸 × 2台 | |
| 加工速度(mm/min) | 200〜750 | |
| カッター軸回転数(r.p.m) | 330 | |
| 切削用モーター(kw・P) | 15kw - 4p × 2個 × 2台 | |
| 機械寸法(mm) | L2415 × W2827 × H4748 | |
| 機械重量(kg) | 15000 × 2台 | |

コラム開先加工機